Ningbo Richge Technology Co., Ltd.
Ningbo Richge Technology Co., Ltd.
Producten

Guide Rail Device Series

Guide Rail Device Series

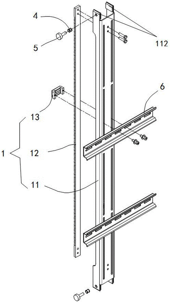
The switchgear guide rail is used for support and guide electrical equipment or components to move in the switchgear.  

Support and guide: Provide support for electrical equipment or components to ensure the stable position in the switchgear and guide them to move in a specific direction for easy installation, commissioning and maintenance.

Easy installation and removal: Allow electrical equipment or components to be easily inserted or unplugged from the switchgear, improving the efficiency of installation and maintenance.

Protect equipment: Reduce friction and collision between the equipment and the distribution cabinet during the plug-in and unplug process, thereby protecting the surface and internal structure of the equipment from damage.

Improve space utilization: By reasonably arranging the guide rails, the space in the distribution cabinet can be fully utilized, making the installation of electrical equipment more compact and orderly.


View as  
 
Geleiderail voor elektrische schakelapparatuur

Geleiderail voor elektrische schakelapparatuur

Geleiderail voor elektrische schakelapparatuur is een mechanische structuur voor het ondersteunen, geleiden en monteren van schakelcomponenten, voornamelijk gebruikt in elektrische apparatuur. Het kerndoel van het ontwerp is het garanderen van de stabiliteit van de schakelapparatuur, nauwkeurige uitlijning en het gemak van daaropvolgend onderhoud en vervanging. Rails zijn meestal gemaakt van een aluminiumlegering of gegalvaniseerd staal, met een sterk draagvermogen en corrosieweerstand. Voor speciale omgevingen (zoals natte of corrosieve plaatsen) worden de rails gemaakt van een anticorrosiebehandeling of roestvrij staal. Common rail-vormen omvatten "C", "U" of "L"-secties, ontworpen om compatibel te zijn met vele soorten schakelapparatuur. Bovendien voldoet de standaardgrootte van de geleiderail aan internationale specificaties, wat de modulaire installatie van de apparatuur vergemakkelijkt. Om de barre omstandigheden het hoofd te bieden, kan het oppervlak van de geleiderail worden gegalvaniseerd, elektroforetisch worden gecoat en andere behandelingen worden uitgevoerd om de corrosieweerstand te verbeteren.
Geleiderail voor elektrische schakelapparatuur

Geleiderail voor elektrische schakelapparatuur

Richge is een fabrikant van geleiderails voor elektrische schakelapparatuur in China, gespecialiseerd in nauwkeurig ontworpen oplossingen die zijn ontworpen om de stabiliteit en functionaliteit van schakelsystemen te verbeteren. Onze geleiderails zijn een integraal onderdeel van het garanderen van de betrouwbare en soepele werking van elektrische schakelapparatuur en bieden essentiële ondersteuning en uitlijning voor kritische componenten.
Aluminium geleiderail voor schakelapparatuur

Aluminium geleiderail voor schakelapparatuur

Richge is een fabrikant van aluminium geleiderails voor schakelapparatuur in China, gespecialiseerd in hoogwaardige oplossingen die zijn ontworpen om nauwkeurige ondersteuning en uitlijning te bieden voor elektrische schakelsystemen. Onze aluminium geleiderails combineren een lichtgewicht ontwerp met duurzaamheid, waardoor ze een ideale keuze zijn voor moderne schakelapparatuurtoepassingen.
Richge is een professionele Guide Rail Device Series fabrikant en leverancier in China. Als u geïnteresseerd bent in onze goedkope producten, neem dan contact met ons op.
X
We gebruiken cookies om u een betere browse-ervaring te bieden, het siteverkeer te analyseren en de inhoud te personaliseren. Door deze site te gebruiken, gaat u akkoord met ons gebruik van cookies. Privacybeleid
Afwijzen Accepteren